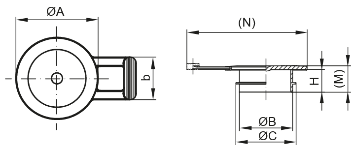
GPN 318
The GPN 318 grip plugs are suitable for the protection of bore holes and internal threads. The innovative grip tab in a patented tab design enables extremely fast removal. Individual sizes in the range protect several thread sizes and flexible ribs accommodate larger tolerances.
- Grip plugs for internal protection
- Two sustainable variants made from post-consumer recyclate available
Related Products
Tailored Industrial Support with Quality Products and Expert Guidance.
Our solutions will reduce your bottle necks and improve your efficiency and productivity, contact us now and let us know how we can help you, we are always here!











