GPN 290
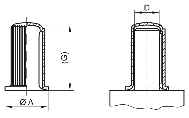
The GPN 290 shaft protection is suitable for the protection of shaft ends according to DIN EN 748-1 and DIN EN 50347. Its use also secures the feather key.
- Shaft protection for external protection
- Two sustainable variants made from post-consumer recyclate available
Related Products
Tailored Industrial Support with Quality Products and Expert Guidance.
Our solutions will reduce your bottle necks and improve your efficiency and productivity, contact us now and let us know how we can help you, we are always here!










